Изолятор опорный стержневой полимерный
ОСК 20-10/80-2 исполнение 02
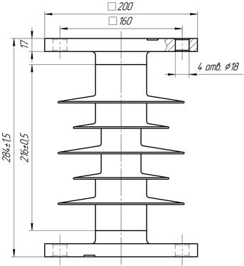
Полимерный опорный-стержневой изолятор ОСК 20-10/80-2 исполнение 02 предназначен для изоляции и крепления токоведущих частей в электрических аппаратах, распределительных устройствах, электрических станций и подстанций переменного тока номинальным напряжением 10 кВ. Опорный стержневой полимерный изолятор предназначен для работы в температурном диапазоне от –60° до +50°С на высоте не более 1000 м над уровнем моря.
Структура условного обозначения изолятора ОСК 20-10/80-2-02 УХЛ1:
- О - опорный;
- С - стержневой;
- К - кремнийорганическая защитная оболочка изолятора;
- 20 - минимальная разрушающая сила на изгиб, кН;
- 10 - номинальное напряжение изолятора, кВ;
- 80 - испытательное напряжение грозового импульса 1,5/50, кВ;
- 2 - степень загрязнения изоляции в соответствии с ГОСТ 9920;
- 02 - конструктивное исполнение изолятора
- УХЛ1 - климатическое исполнение и категория размещения по ГОСТ 15150.
Опорные стержневые полимерные изоляторы ОСК-20-10/80-2-02 УХЛ1 предназначены для замены фарфоровых изоляторов ИОС-10-2000 УХЛ1, ИОС-10/2000, ИОС 10-2000, ИОС 10-2000 УХЛ1
Изолятор ОСК 20-10/80-2 исполнение 02 УХЛ1 соответствует требованиям СОУ МПЕ 40.1.51.302:2006.
| Показник | ОСК 20-10/80-2-02 |
| Номінальна напруга, кВ | 10 |
| Нормована руйнуюча механічна сила при вигині, кН, не менше | 20 |
| Ступінь забруднення атмосфери по ГОСТ 9920 | 2 |
| Напруга, що витримується, кВ: | |
| грозового імпульсу «1,2/50»; | 80 |
| промислової частоти: | |
| у сухому стані; | 42 |
| під дощем | 28 |
| 50% розрядна напруга в забрудненому і зволоженому стані, при питомій поверхневій провідності 20 мкСм, кВ | 13 |
| Довжина шляху витоку, мм | 620±50 |
| Рівень часткових розрядів при нормованій напрузі, пКл | ≤2 |
Варианты обозначения полимерных аналогов: ИОСК 20-10-284-2, ОСК-20-10-Б, ОСК-20-10-В
