Обмежувачі перенапруги нелінійні ОПН-35 кВ
ОПН-П-35/43/10/850 УХЛ1
Обмежувач перенапруг ОПН-П-35/43/10/850 УХЛ1 призначений для захисту електрообладнання в мережах класу напруги 35 кВ змінного струму частотою 50 Гц з ізольованою або компенсованою нейтраллю від грозових та комутаційних перенапруг у районах до V ступеня забрудненості атмосфери при температурі навколишнього повітря від мінус 60°С до плюс 60°С на висоті не більше 1000 метрів над рівнем моря. Вид кліматичного виконання — УХЛ, категорія розміщення 1 — для експлуатації на відкритому повітрі.
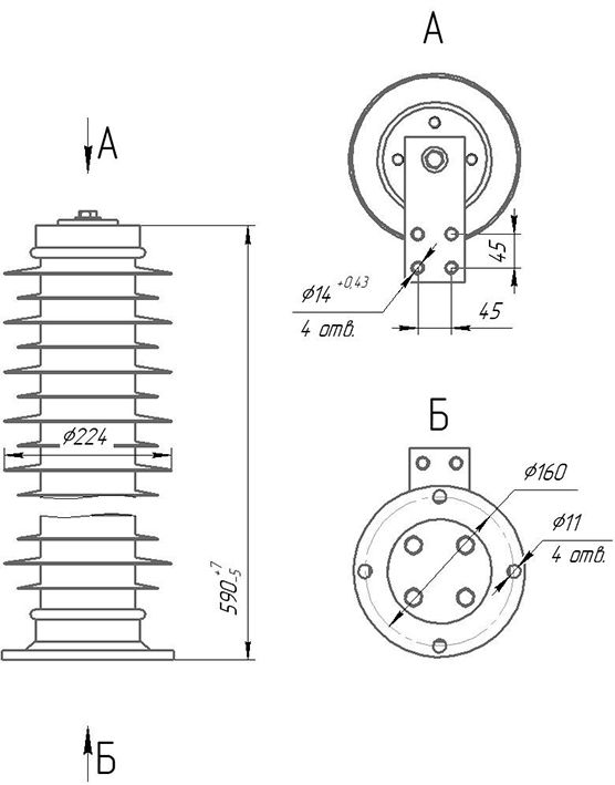
Обмежувач ОПН-П-35/43/10/850 УХЛ1 є захисним пристроєм, що складається з колонок послідовно з’єднаних нелінійних оксидно-цинкових варисторів ZnO та електродів, розміщених у полімерному корпусі, шпильок, гайок і шайб, що дозволяють здійснювати монтаж обмежувачів та приєднання їх до фазного і заземлювального провідників. Обмежувач не містить іскрових проміжків. Полімерний корпус являє собою герметизовану захисну оболонку, сформовану з кремнійорганічних (силіконових) гумових сумішей і привулканізовану до поверхні обмежувача під час виготовлення. Полімерний корпус є герметичним і вологонепроникним.
Обмежувачі перенапруги пройшли випробування в акредитованому випробувальному центрі, що має відповідну акредитацію, згідно з вимогами МЕК IEC 60099, ДСТУ IEC60099.
Технічні характеристики обмежувача перенапруг ОПН-П-35/43/10/850 УХЛ1

Найменування характеристики |
Од. вим. |
ОПН-П-35/43/10/850 |
1 Клас напруги мережі |
кВ |
35 |
2 Найбільша тривало допустима робоча напруга UНР (діюче значення) |
кВ |
43 |
3 Номінальна напруга обмежувача |
кВ |
53,7 |
4 Номінальний розрядний струм з формою хвилі 8/20 мкс (амп- літудне значення) |
А |
10000 |
5 Імпульс великого витримуваного струму 4/10 мкс |
кА |
100 |
6 Пропускна спроможність обмежувача |
А |
850 |
10 Довжина шляху витоку, не менше |
мм |
1400 |
12 Клас розряда лінії |
|
3 |
12 Маса обмежувача, не більше |
кг |
10 |
Також э можливість виготовлення обмежувачів перенапруги з електричними характеристиками та приєднувальними розмірами згідно з вимогами замовника.
Варіанти позначення пристроїв захисту від перенапруг 35 кВ: ОПНп-35/43/10/800 УХЛ1, ОПНп-35/43/10/3/IV/УХЛ1, ОПН-П1-35/43/10/3 УХЛ1
Купити ОПН в Україні за цінами заводу-виробника Ви можете, зв’язавшись з нами будь-яким зручним для Вас способом. Найпоширеніші типи ОПН-П завжди є в наявності на складі. Доставка по Україні здійснюється будь-яким зручним для Вас перевізником. Ціна ОПН-П залежить від його електричних характеристик та комплектації.
Контакты
Телефон/Viber/WatsApp: +38(050) 761-20-09
Email: slavsep@gmail.com
Website: www.sep.ho.ua